200+ Trắc nghiệm Đồ gá và đồ án công nghệ chế tạo máy (có đáp án)
Tổng hợp trên 200 câu hỏi trắc nghiệm Đồ gá và đồ án công nghệ chế tạo máy có đáp án với các câu hỏi đa dạng, phong phú từ nhiều nguồn giúp sinh viên ôn trắc nghiệm Đồ gá và đồ án công nghệ chế tạo máy đạt kết quả cao.
200+ Trắc nghiệm Đồ gá và đồ án công nghệ chế tạo máy (có đáp án)
Câu 1: Đồ gá trên máy tiện là?
A. Ống kẹp đàn hồi.
B. Êtô.
C. Tất cả đều đúng.
D. Tất cả đều sai.
Câu 2: Nhược điểm của phương pháp tự động đạt kích thước trên máy công cụ?
A. Tất cả đều đúng.
B. Tăng phế phẩm.
C. Năng suất thấp.
D. Phí tổn về việc thiết kế lớn.
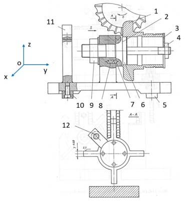
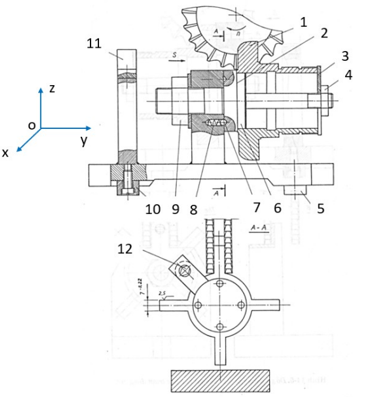
Câu 3: Cho đồ gá và hệ trục tọa độ như hình bên dưới, công dụng của chi tiết số 11 là gì?
A. Thân đồ gá.
B. Định hướng chi tiết.
C. Cữ so dao.
D. Cơ cấu kẹp chặt.
Câu 4: Tổng các lực cắt P (hoặc R) tác dụng lên dao tiện được phân Px, Py, Pz để dễ nghiên cứu. Trong đó?
A. Lực tiếp tuyến Pz tác dụng trong mặt phẳng ngang vuông góc với đường tâm chi tiết, ảnh hưởng đến độ chính xác gia công, dùng lực này tính độ bền dao.
B. Lực tiếp tuyến Pz tác dụng theo hướng chuyển động chính, dùng lực này tính độ bền dao, máy, tính công suất cắt.
C. Không có đáp án nào đúng.
D. Lực tiếp tuyến Pz là lực chạy dao tác dụng ngược hướng chạy dao.
Câu 5: Chiều sâu cắt (t) khi tiện ngoài và tiện trong là?
A. Là trị số của lớp kim loại được cắt đi sau một lần chuyển dao đo theo phương thẳng góc đường tâm chi tiết.
B. Chiều dài thực tế của lưỡi cắt tham gia cắt.
C. Là khoảng cách giữa hai vị trí liên tiếp của lưỡi cắt sau một vòng quay của chi tiết đó theo phương thẳng góc lưỡi cắt.
D. Khoảng dịch chuyển của lưỡi cắt chính sau một vòng quay của chi tiết.
Câu 6: Lưỡi cắt chính của dao tiện là?
A. Giao tuyến của mặt trước và mặt sau chính giữ nhiệm vụ cắt chủ yếu trong quá trình làm việc.
B. Giao tuyến của mặt trước và mặt phẳng đáy giữ nhiệm vụ cắt chủ yếu trong quá trình làm việc.
C. Giao tuyến của mặt trước và mặt sau phụ giữ nhiệm vụ cắt chủ yếu trong quá trình làm việc.
D. Giao tuyến của mặt sau chính và mặt sau phụ giữ nhiệm vụ cắt chủ yếu trong quá trình làm việc.
Câu 7: Điền vào chỗ trống: ........... lỗ có thể ........... lỗ đặc, ........... rộng lỗ, ........... lỗ không thông và lỗ thông. Đường kính lỗ gia công từ Φ0,1 đến Φ80 nhưng phổ biến nhất là lỗ Φ≤34mm.
A. Khoan.
B. Khoét.
C. Tiện.
D. Doa.
Câu 8: Cho đồ gá và hệ trục tọa độ như hình bên dưới, công dụng của chi tiết số 4 là gì?
A. Tạo lực kẹp chặt giữ chặt trục gá đúng vị trí.
B. Dùng trang trí.
C. Tạo lực kẹp chặt chi tiết.
D. Đai ốc.
Câu 9: Đây là sơ đồ gì?
A. Đúc ly tâm đứng.
B. Đúc trong khuôn kim loại.
C. Đúc liên tục.
D. Đúc ly tâm nằm.
Câu 10: Chuẩn là gì?
A. Là gốc tọa độ hoặc gốc kích thước để xác định vị trí và các kích thước của chính chi tiết đó.
B. Là tập hợp bề mặt của chi tiết để xác định các bề mặt khác của chính chi tiết đó.
C. Là tập hợp các điểm, đường của chi tiết để xác định các điểm, đường khác của chính chi tiết đó.
D. Là tập hợp các điểm, đường, bề mặt của chi tiết để xác định các điểm, đường, bề mặt khác của chính chi tiết đó.
Câu 11: Trong sơ đồ bên dưới các thông số thể hiện cái gì?
A. Q1, T4 là chuyển động bao hình.
B. T3, Q2 là chuyển động bao hình.
C. Q1, T3 là chuyển động bao hình.
D. Q1, Q2 là chuyển động bao hình.
Câu 12: Đầu phân độ là một loại đồ gá chuyên dùng trên máy phay, có thể gia công được?
A. Phay then hoa; Phay bánh răng.
B. Phay bậc.
C. Tất cả đều sai.
D. Phay các rãnh cong hoặc chữ T.
Câu 13: Cho hình vẽ, Góc λ là góc gì?
A. Góc nghiêng phụ.
B. Góc cắt.
C. Góc nghiêng chính.
D. Góc nghiêng của lưỡi cắt chính.
Câu 14: Cho đồ gá và hệ trục tọa độ như hình bên dưới, Chi tiết số 12 định vị chi tiết gia công theo những bậc tự do nào?
A. Quay quanh Oy.
B. Tịnh tiến theo Oz, tịnh tiến theo Ox và tịnh tiến theo Oy.
C. Tịnh tiến theo Oz, quay quanh Ox và quay quanh Oy.
D. Tịnh tiến theo Ox và tịnh tiến theo Oz.
Câu 15: Khi định vị cần chú ý?
A. Không cần quan tâm đến vấn đề siêu định vị.
B. Nhất thiết không được xảy ra hiện tượng siêu định vị.
C. Nhất thiết phải khống chế đủ 6 bậc tự do.
D. Không nên để xảy ra hiện tượng siêu định vị.
Câu 16: Bề mặt chuẩn định vị sau này có tham gia vào quá trình lắp ráp là?
A. Chuẩn thô.
B. Chuẩn thô chính.
C. Chuẩn tinh chính.
D. Chuẩn tinh phụ.
Câu 17: Cho đồ gá và hệ trục tọa độ như hình bên dưới, Chi tiết số 6 định vị chi tiết gia công theo những bậc tự do nào?
A. Tịnh tiến theo Oz, tịnh tiến theo Ox và tịnh tiến theo Oy.
B. Tịnh tiến theo Ox và tịnh tiến theo Oz.
C. Quay quanh Oz, tịnh tiến theo Ox.
D. Tịnh tiến theo Oz, quay quanh Oy.
Câu 18: Rèn khuôn là gì?
A. Kim loại được biến dạng đàn hồi trong lòng khuôn nhờ tác dụng của lực máy ép và máy búa.
B. Kim loại được biến dạng nguội trong lòng khuôn nhờ tác dụng của lực máy ép và máy búa.
C. Kim loại được biến dạng dẻo trong lòng khuôn nhờ tác dụng của lực máy ép và máy búa.
D. Kim loại được biến dạng dẻo giữa búa và đe nhờ tác dụng của lực của máy búa.
Câu 19: Khi đột lỗ, khe hở giữa chày và cối thường lấy bằng?
A. (5 ÷ 10)% chiều dày phôi tấm.
B. (20 ÷ 25)% chiều dày phôi tấm.
C. (2 ÷ 3,5)% chiều dày phôi tấm.
D. (15 ÷ 20)% chiều dày phôi tấm.
Câu 20: Ý nào không phải ưu điểm của đúc ly tâm?
A. Tổ chức kim loại mịn chặt, không bị rỗ co, rỗ khí do đông đặc dưới tác dụng của lực ly tâm.
B. Đúc được vật đúc có cơ tính cao và hình dạng phức tạp.
C. Do tác dụng của lực ly tâm nên kim loại điền đầy khuôn tốt, đúc được vật thành mỏng, vật có đường gân, hình nổi mỏng.
D. Vật đúc sạch do tạp chất, xỉ và phi kim loại nhẹ có lực ly tâm bé nên không bị lẫn vào vật đúc.
Câu 21: Cho hình vẽ, giải thích các ký hiệu các góc của dao tiện φ, φ1, ε?
A. φ – Góc nghiêng chính, φ1 – Góc nghiêng phụ, ε – Góc mũi dao.
B. φ – Góc mũi dao, φ1 – Góc nghiêng phụ, ε – Góc nghiêng chính.
C. φ – Góc nghiêng phụ, φ1 – Góc nghiêng chính, ε – Góc mũi dao.
D. φ – Góc nghiêng chính, φ1 – Góc nghiêng phụ, ε – Góc trước.
Câu 22: Các chỉ tiêu nào được sử dụng để đánh giá độ chính xác của quá trình gia công?
A. Độ chính xác kích thước.
B. Độ chính xác vị trí tương quan.
C. Tổng hợp của các đáp án.
D. Độ chính xác hình học tế vi và tính chất cơ lý của bề mặt.
Câu 23: Mâm cặp 3 chấu có thể gá đặt được các chi tiết có?
A. Tất cả đều đúng.
B. Tất cả đều sai.
C. Tiết diện tròn.
D. Tiết diện vuông.
Câu 24: Bào và xọc là những phương pháp gia công được dùng trong sản xuất?
A. Hàng khối.
B. Hàng loạt lớn.
C. Hàng loạt và hàng khối.
D. Đơn chiếc.
Câu 25: Chuẩn mà ta dùng để kiểm tra kích thước bề mặt gia công là gì?
A. Chuẩn điều chỉnh.
B. Chuẩn định vị.
C. Chuẩn lắp ráp.
D. Chuẩn đo lường.
................................
................................
................................
Xem thêm câu hỏi trắc nghiệm các môn học Đại học có đáp án hay khác:
Sách VietJack thi THPT quốc gia 2025 cho học sinh 2k7:
- Soạn văn 12 (hay nhất) - KNTT
- Soạn văn 12 (ngắn nhất) - KNTT
- Giải sgk Toán 12 - KNTT
- Giải Tiếng Anh 12 Global Success
- Giải sgk Tiếng Anh 12 Smart World
- Giải sgk Tiếng Anh 12 Friends Global
- Giải sgk Vật Lí 12 - KNTT
- Giải sgk Hóa học 12 - KNTT
- Giải sgk Sinh học 12 - KNTT
- Giải sgk Lịch Sử 12 - KNTT
- Giải sgk Địa Lí 12 - KNTT
- Giải sgk Giáo dục KTPL 12 - KNTT
- Giải sgk Tin học 12 - KNTT
- Giải sgk Công nghệ 12 - KNTT
- Giải sgk Hoạt động trải nghiệm 12 - KNTT
- Giải sgk Giáo dục quốc phòng 12 - KNTT
- Giải sgk Âm nhạc 12 - KNTT
- Giải sgk Mĩ thuật 12 - KNTT
Giải bài tập SGK & SBT
Tài liệu giáo viên
Sách
Khóa học
Thi online
Hỏi đáp



