Trắc nghiệm Công nghệ 11 Bài 24: Cơ cấu phân phối khí có đáp án
Câu hỏi trắc nghiệm Công nghệ 11 Bài 24: Cơ cấu phân phối khí có đáp án
Với 15 câu trắc nghiệm Công nghệ 11 Bài 24: Cơ cấu phân phối khí có đáp án chi tiết giúp học sinh ôn tập trắc nghiệm Công nghệ 11.
Câu 1. Cơ cấu phân phối khí giúp:
A. Đóng, mở các cửa nạp
B. Đóng mở các cửa thải
C. Đóng mở các cửa nạp và cửa thải
D. Đóng ở các cửa nạp hoặc cửa thải
Đáp án đúng: C
Giải thích: Cơ cấu phân phối khí có nhiệm vụ đóng, mở các cửa nạp, thải đúng lúc để động cơ thực hiện quá trình nạp khí mới vào xilanh và thải khí đã cháy trong xilanh ra ngoài.
Câu 2. Cơ cấu phân phối khí thực hiện quá trình nào?
A. Nạp khí mới vào xilanh
B. Thải khí đã cháy trong xilanh ra ngoài
C. Cả A và B đều đúng
D. Đáp án khác
Đáp án đúng: C
Giải thích: Cơ cấu phân phối khí có nhiệm vụ đóng, mở các cửa nạp, thải đúng lúc để động cơ thực hiện quá trình nạp khí mới vào xilanh và thải khí đã cháy trong xilanh ra ngoài.
Câu 3. Người ta chia cơ cấu phân phối khí làm mấy loại?
A. 1
B. 2
C. 3
D. 4
Đáp án đúng: B
Giải thích: Cơ cấu phân phối khí gồm 2 loại: cơ cấu phân phối khí dùng xupap và cơ cấu phân phối khí dùng van trượt.
Câu 4. Có mấy loại cơ cấu phân phối khí dùng xupap?
A. 1
B. 2
C. 3
D. 4
Đáp án đúng: B
Giải thích: Có 2 loại cơ cấu phân phối khí dùng xupap: cơ cấu phân phối khí dùng xupap trượt và cơ cấu phân phối khí dùng xupaap treo.
Câu 5. Cơ cấu phân phối khí xupap đặt có cấu tạo như thế nào so với cơ cấu phân phối khí xupap treo?
A. Đơn giản hơn
B. Phức tạp hơn
C. Như nhau
D. Không xác định
Đáp án đúng: A
Giải thích: Do xupap được đặt trong thân máy nên con đội 2 trực tiếp dẫn động xupap 4 mà không cần các chi tiết dẫn động trung gian.
Câu 6. Cơ cấu phân phối khí dùng xupap nào được sử dụng phổ biến hơn?
A. Xupap đặt
B. Xupap treo
C. Cả 2 loại trên
D. Không xác định
Đáp án đúng: B
Giải thích: Do cơ cấu phân phối khí xupap treo có nhiều ưu điểm như: cấu tạo buồng cháy đơn giản hơn, đảm bảo nạp đầy và thải sạch hơn, dễ điều chỉnh khe hở xupap.
Câu 7. Ưu điểm của cơ cấu phân phối khí dùng xupap treo:
A. Cấu tạo buồng cháy đơn giản
B. Đảm bảo nạp đầy và thải sạch
C. Dễ điều chỉnh khe hở xupap
D. Cả 3 đáp án trên
Đáp án đúng: D
Giải thích: Do cơ cấu phân phối khí xupap treo có nhiều ưu điểm như: cấu tạo buồng cháy đơn giản hơn, đảm bảo nạp đầy và thải sạch hơn, dễ điều chỉnh khe hở xupap nên được dùng phổ biến.
Câu 8. Hãy cho biết, đâu là cơ cấu phân phối khí dùng xupap treo?
A.
B.
C. Cả A và B đều đúng
D. Cả A và B đều sai
Đáp án đúng: A
Giải thích: Đáp án B là cơ cấu phân phối khí dùng xupap đặt
Câu 9. Hãy cho biết, đâu là cơ cấu phân phối khí dùng xupap đặt?
A.
B.
C. Cả A và B đều đúng
D. Cả A và B đều sai
Đáp án đúng: B
Giải thích: Đáp án A là cơ cấu phân phối khí dùng xupap treo.
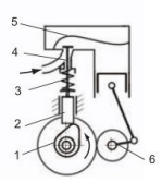
Câu 10. Hãy cho biết, vị trí số 1 của cơ cấu phân phối khí xupap treo là gì?
A. Trục cam và cam
B. Con đội
C. Lò xo xupap
D. Xupap
Đáp án đúng: A
Giải thích:
+ Vị trí số 1: trục cam và cam
+ Vị trí số 2: con đội
+ Vị trí số 3: lò xo xupap
+ Vị trí số 4: xupap
Câu 11. Hãy cho biết, vị trí số 2 của cơ cấu phân phối khí xupap treo là gì?
A. Trục cam và cam
B. Con đội
C. Lò xo xupap
D. Xupap
Đáp án đúng: B
Giải thích:
+ Vị trí số 1: trục cam và cam
+ Vị trí số 2: con đội
+ Vị trí số 3: lò xo xupap
+ Vị trí số 4: xupap
Câu 12. Hãy cho biết, vị trí số 3 của cơ cấu phân phối khí xupap treo là gì?
A. Trục cam và cam
B. Con đội
C. Lò xo xupap
D. Xupap
Đáp án đúng: C
Giải thích:
+ Vị trí số 1: trục cam và cam
+ Vị trí số 2: con đội
+ Vị trí số 3: lò xo xupap
+ Vị trí số 4: xupap
Câu 13. Hãy cho biết, vị trí số 4 của cơ cấu phân phối khí xupap treo là gì?
A. Trục cam và cam
B. Con đội
C. Lò xo xupap
D. Xupap
Đáp án đúng: D
Giải thích:
+ Vị trí số 1: trục cam và cam
+ Vị trí số 2: con đội
+ Vị trí số 3: lò xo xupap
+ Vị trí số 4: xupap
Câu 14. Khi động cơ 4 kì làm việc, xupap nạp mở mấy lần trong 1 chu trình?
A. 1
B. 2
C. 3
D. 4
Đáp án đúng: A
Giải thích: Trong 1 chu trình, động cơ chỉ nạp 1 lần nên xupap nạp chỉ mở 1 lần.
Câu 15. Khi động cơ 4 kì làm việc, xupap thải mở mấy lần trong 1 chu trình?
A. 1
B. 2
C. 3
D. 4
Đáp án đúng: A
Giải thích: Trong 1 chu trình, động cơ chỉ thải 1 lần nên xupap thải chỉ mở 1 lần.
Xem thêm câu hỏi trắc nghiệm Công nghệ lớp 11 có đáp án hay khác:
- Trắc nghiệm Công nghệ 11 Bài 25 có đáp án mới nhất
- Trắc nghiệm Công nghệ 11 Bài 26 có đáp án mới nhất
- Trắc nghiệm Công nghệ 11 Bài 27 có đáp án mới nhất
- Trắc nghiệm Công nghệ 11 Bài 28 có đáp án mới nhất
- Trắc nghiệm Công nghệ 11 Bài 29 có đáp án mới nhất
Tủ sách VIETJACK shopee lớp 10-11 (cả 3 bộ sách):
Đã có app VietJack trên điện thoại, giải bài tập SGK, SBT Soạn văn, Văn mẫu, Thi online, Bài giảng....miễn phí. Tải ngay ứng dụng trên Android và iOS.
Theo dõi chúng tôi miễn phí trên mạng xã hội facebook và youtube:Nếu thấy hay, hãy động viên và chia sẻ nhé! Các bình luận không phù hợp với nội quy bình luận trang web sẽ bị cấm bình luận vĩnh viễn.
- Giải Tiếng Anh 11 Global Success
- Giải sgk Tiếng Anh 11 Smart World
- Giải sgk Tiếng Anh 11 Friends Global
- Lớp 11 - Kết nối tri thức
- Soạn văn 11 (hay nhất) - KNTT
- Soạn văn 11 (ngắn nhất) - KNTT
- Giải sgk Toán 11 - KNTT
- Giải sgk Vật Lí 11 - KNTT
- Giải sgk Hóa học 11 - KNTT
- Giải sgk Sinh học 11 - KNTT
- Giải sgk Lịch Sử 11 - KNTT
- Giải sgk Địa Lí 11 - KNTT
- Giải sgk Giáo dục KTPL 11 - KNTT
- Giải sgk Tin học 11 - KNTT
- Giải sgk Công nghệ 11 - KNTT
- Giải sgk Hoạt động trải nghiệm 11 - KNTT
- Giải sgk Giáo dục quốc phòng 11 - KNTT
- Giải sgk Âm nhạc 11 - KNTT
- Lớp 11 - Chân trời sáng tạo
- Soạn văn 11 (hay nhất) - CTST
- Soạn văn 11 (ngắn nhất) - CTST
- Giải sgk Toán 11 - CTST
- Giải sgk Vật Lí 11 - CTST
- Giải sgk Hóa học 11 - CTST
- Giải sgk Sinh học 11 - CTST
- Giải sgk Lịch Sử 11 - CTST
- Giải sgk Địa Lí 11 - CTST
- Giải sgk Giáo dục KTPL 11 - CTST
- Giải sgk Hoạt động trải nghiệm 11 - CTST
- Giải sgk Âm nhạc 11 - CTST
- Lớp 11 - Cánh diều
- Soạn văn 11 Cánh diều (hay nhất)
- Soạn văn 11 Cánh diều (ngắn nhất)
- Giải sgk Toán 11 - Cánh diều
- Giải sgk Vật Lí 11 - Cánh diều
- Giải sgk Hóa học 11 - Cánh diều
- Giải sgk Sinh học 11 - Cánh diều
- Giải sgk Lịch Sử 11 - Cánh diều
- Giải sgk Địa Lí 11 - Cánh diều
- Giải sgk Giáo dục KTPL 11 - Cánh diều
- Giải sgk Tin học 11 - Cánh diều
- Giải sgk Công nghệ 11 - Cánh diều
- Giải sgk Hoạt động trải nghiệm 11 - Cánh diều
- Giải sgk Giáo dục quốc phòng 11 - Cánh diều
- Giải sgk Âm nhạc 11 - Cánh diều


Giải bài tập SGK & SBT
Tài liệu giáo viên
Sách
Khóa học
Thi online
Hỏi đáp

