Cách giải bài tập Vi sinh vật (hay, chi tiết)
Cách giải bài tập Vi sinh vật hay, chi tiết đầy đủ các dạng bài tập và phương pháp giải giúp học sinh nắm vững kiến thức và biết cách làm bài tập Sinh học 10.
Cách giải bài tập Vi sinh vật (hay, chi tiết)
(199k) Xem Khóa học Sinh 10 KNTTXem Khóa học Sinh 10 CDXem Khóa học Sinh 10 CTST
I. Phương pháp giải bài tập Vi sinh vật
1. Các bài tập xác định sinh khối của vi sinh vật
- Xác định số lần phân chia của vi khuẩn à xác định tổng thời gian để đạt tới mức sinh khối yêu cầu
2. Các bài tập về thời gian thế hệ và hằng số tốc độ sinh trưởng của vi sinh vật
- Số lượng tế bào của quần thể: Nt = N0 × 2n
- Thời gian thế hệ:

- Tốc độ sinh trưởng riêng (số lần phân chia trong một đơn vị thời gian):

Trong đó:

3. Bài tập xác định thời gian của pha tiềm phát

- Pha tiềm phát (pha lag): tính từ khi vi sinh vật được cấy vào bình cho đến khi chúng bắt đầu sinh trưởng. Đây là giai đoạn thích nghi của VSV, chúng tiến hành tổng hợp mạnh ADN và các enzyme chuẩn bị cho sự phân bào.
- Pha lũy thừa (pha log-pha cấp số): vi sinh vật phân chia mạnh mẽ, số lượng tế bào tăng theo lũy thừa và đạt đến cực đai. Thời gian thế hệ đạt tới hằng số, quá trình trao đổi chất diễn ra mạnh mẽ nhất.
- Pha cân bằng: tốc độ sinh trưởng và trao đổi chất của vi sinh vật giảm dần. Do chất dinh dưỡng bắt đầu cạn kiệt, chất độc hại tăng trong môi trường nuôi cấy, số lượng tế bào đạt cực đại và không đổi theo thời gian.
- Pha suy vong: số lượng tế bào trong quần thể giảm do bị phân huỷ ngày càng nhiều, chất dinh dưỡng cạn kiệt, chất độc hại tăng
→ Căn cứ vào đặc điểm của các pha để xác định thời gian
4. Bài tập xác định thể tích lấy mẫu để mật độ vi sinh vật luôn ổn định
- Dựa vào công thức Nt = N0 × 2n để tính số lượng tế bào sau t thời gian phân chia, sau đó dựa theo yêu cầu đề bài để xác địnht hể tích lấy mẫu
5. Bài tập xác định mật độ vi sinh vật trong môi trường
- Xác định hệ số pha loãng → số lần pha loãng → xác định nồng độ và số lượng tế bào nuôi cấy → khối lượng tế bào có trong môi trường nuôi cấy
II. Ví dụ minh họa bài tập Vi sinh vật
Bài 1: Một vi khuẩn hình cầu có khối lượng khoảng 5.10-13 gam, cứ 20 phút lại nhân đôi 1 lần. Trong điều kiện nuôi cấy tối ưu thì cần bao nhiêu giờ để đạt tới khối lượng 6.1027 gam?
Hướng dẫn giải
Số tế bào được tạo ra:

Với N = 2n (n là số lần phân chia)
Ta có 2n = 1,2 × 1040
Logarit 2 vế ta được n × ln 2 = ln 1,2 + 40 × ln 10

Cứ 20 phút
giờ thì phân chia 1 lần
Thời gian là

Bài 2: Một loài vi khuẩn hình cầu có khối lượng khoảng 5.10-13 gam. Khi nuôi cấy 5.10-11 gam vi khuẩn trong môi trường nuôi cấy sau 4 giờ đạt tới khối lượng là 2,56.10-8 gam, sau 6 giờ thì đạt khối lượng 1,76.10-4 gam. Xác định thời gian thế hệ (g) của loài vi khuẩn này?
Hướng dẫn giải
- Gọi n là số thế hệ của vi khuẩn từ lúc 6 giờ đến 8 giờ.
Ta có: 2,56 × 10-8 × 2n = 1,766.10-4
.
.
Hằng số tốc độ sinh trưởng:

Thời gian thế hệ là:

Bài 3: Người ta nuôi cấy một chủng vi sinh vật trong môi trường nuôi cấy nhân tạo. Khi bắt đầu nuôi cấy thấy nồng độ vi khuẩn là N0 = 102 vi khuẩn/ml, pha cân bằng đạt được sau 6 giờ và vào lúc ấy môi trường chứa N = 106 vi khuẩn/ml. Trong điều kiện nuôi cấy này độ dài thế hệ của chủng vi khuẩn là 25 phút. Hỏi chủng vi khuẩn trên có phải trải qua pha lag không? Nếu có thì kéo dài bao lâu?
Hướng dẫn giải
Ta có: 102 × 2n = 106 → 2n = = 104
Tiến hành logarit 2 vế ta được:
.
Thời gian nguyên phân là: 25 × 13,288 = 332,2 (phút)
Vậy pha tiềm phát kéo dài thời gian: 6 × 60 – 332,2 = 27,8 (phút)
Bài 4: Nuôi cấy nấm men bia trong bình nuôi cấy liên tục có thể tích 20 lít, cứ sau 6 giờ thì người ta rút dịch nuôi có chứa nấm men ra và bổ sung chất dinh dưỡng vào cho đầy bình. Lượng thể tích rút ra là bao nhiêu để mật độ tế bào có trong chất dịch được rút ra không thay đổi ở mỗi lần rút? Biết rằng thời gian thế hệ của nấm men bia là 2 giờ.
Hướng dẫn giải
- Sau 6 giờ, số lần phân chia là 6/2 = 3 lần
- Gọi tế bào ban đầu là N0, ta có sau 6 giờ là:
.
- Để mật độ không đổi thì khi rút dịch thì lượng còn lại là N0.
Vậy lượng cần rút: 8N0 – N0 = 7N0
Vậy lượng cần rút là:

Bài 5: Để xác định số lượng nấm men trong bình nuôi cấy có dung tích 7,6 lít người ta tiến hành pha loãng trong các ống nghiệm có chứa 8ml nước cất vô trùng theo sơ đồ sau:

Trong ống nghiệm thứ 5 lấy ra 0,2ml dung dịch rồi trải lên bề mặt môi trường dinh dưỡng đặc đựng trong đĩa petri. Kết quả trong đĩa petri có 25 khuẩn lạc phát triển. Tính khối lượng nấm men có trong bình nuôi cấy. Biết mỗi tế bào nấm men có khối lượng 2,11.10-11 g.
Hướng dẫn giải
Rót 2ml dịch vào 8ml nước
→ Hệ số pha loãng là :

- Cứ mỗi lần pha loãng 1/5 lần
Sau 5 lần pha loãng thì số lần pha loãng là:

- Nồng độ nấm men ở ống số 5 là 25/0,2 = 125 (tế bào/ml) = 125000 (tế bào/lít)
- Số lượng tế bào nấm men có trong bình nuôi cấy (lúc chưa pha loãng) là:
7,6 × 3125 × 125000 = 2968750000 (tế bào)
- Khối lượng nấm men có trong bình:
2968750000 × 10-11 = 0,6264 (g)
III. Bài tập tự luyện về Vi sinh vật
Bài 1: Một vi khuẩn hình cầu có khối lượng 4.10-13 gam, cứ 20 phút lại nhân đôi 1 lần. Trong điều kiện nuôi cấy tối ưu thì cần bao nhiêu giờ để từ vi khuẩn này sinh sản ra một số lượng vi khuẩn có tổng khối lượng đạt 1020 gam?
Bài 2: Khi nuôi cấy vi khuẩn E.Coli trong môi trường nuôi cấy không liên tục bắt đầu từ 1200 tế bào với pha tiềm phát kéo dài 1 giờ, thời gian thế hệ là 30 phút. Hãy tính số lượng tế bào được tạo thành sau 55 phút, 5 giờ (trong trường hợp tất cả các tế bào đều phân chia và trường hợp 1/4 số tế bào ban đầu bị chết).
Bài 3: Theo dõi thời gian phân chia và số tế bào vi khuẩn, người ta thu được bảng sau:
Thời gian (phút) |
Số lần phân chia |
2n |
Số tế bào của quần thể |
0 |
0 |
1 |
1 |
30 |
1 |
2 |
2 |
60 |
2 |
4 |
4 |
90 |
3 |
8 |
8 |
a) Hãy xác định thời gian thế hệ (g) và tốc độ sinh trưởng riêng của loài sinh vật trên?
b) Giả sử, cấy một lượng khoảng 200 tế bào vi sinh vật trên vào môi trường dinh dưỡng C, nhận thấy pha cân bằng đạt được sau 7 giờ với tổng số tế bào là 1638400 tế bào/ml. Liệu vi khuẩn có qua pha tiềm phát không?
Bài 4: Người ta cấy vào 5ml môi trường nuôi cấy thích hợp 106 Staphylococcus và 102 loại vi khuẩn biến chủng N0II (biến chủng).
a) Hỏi số lượng tế bào của mỗi chủng trong 1ml tạo thời điểm 0 giờ?
b) Sau 6 giờ nuôi ủ số lượng của mỗi chủng (không kể pha tiềm phát) đếm được là 8.108 Staphylococcus/ml và 3 × 103 chủng N0II/ml. Hỏi thời gian của 1 lứa của 2 chủng là bao nhiêu?
Bài 5: Người ta tiến hành nuôi cấy vi khuẩn E.coli trong môi trường chứa cả glucozo và lactôzơ. Đếm tế bào trong dịch nuôi cấy tại thời điểm khác nhau thu được số liệu như sau:
Thời gian |
Số tế bào/ml |
Thời gian |
Số tế bào/ml |
Sau 1 giờ |
10000 |
Sau 5 giờ |
320000 |
Sau 2 giờ |
40000 |
Sau 6 giờ |
0,54.106 |
Sau 3 giờ |
160000 |
Sau 7 giờ |
2,03.106 |
Sau 4 giờ |
160000 |
Sau 8 giờ |
3,42.106 |
a. Xác định thời điểm mà các tế bào vi khuẩn bắt đầu phân giải lactôzơ.
b. Thời gian thế hệ của vi khuẩn là bao nhiêu?
c. Tốc độ phân chia trung bình của loài này là bao nhiêu (tế bào/giờ).
Bài 6: Trong điều kiện nuôi ủ một loài vi khuẩn ở 37°C người ta đếm được:
- Sau 6 giờ có 5,25.105 tế bào
- Sau 8 giờ có 8,5. 106 tế bào
Hãy tính hằng số tốc độ phân chia (u) và thời gian thế hệ (g) của loài vi khuẩn này? Giả sử khối lượng khô của mỗi tế bào vi khuẩn này là 0,3 μg, với tốc độ sinh trưởng như trên, hãy cho biết cần phải nuôi cấy trong thời gian bao nhiêu giờ nữa để thu được 2kg sinh khối.
Bài 7: Để xác định số lượng nấm men trong bình nuôi cấy có dung tích 25 lít người ta tiến hành pha loãng trong các ống nghiệm có nước cất vô trùng theo sơ đồ sau:

Trong ống nghiệm thứ 5 lấy ra 1 ml dung dịch rồi trải lên bề mặt môi trường dinh dưỡng đặc đựng trong đĩa petri. Kết quả trong đĩa petri có 24 khuẩn lạc phát triển. Tính khối lượng nấm men có trong bình nuôi cấy. Biết mỗi tế bào nấm men có khối lượng 2,11.10-11g.
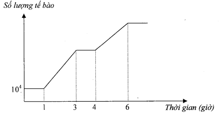
Bài 8: Nuôi cấy 104 tế bào vi khuẩn E.coli trong bình nuôi cấy không liên tục có chứa hai loại nguồn cung cấp cacbon là glucozo và sorbitol. Sau 10 giờ nuôi cấy, đồ thị biểu diễn sự sinh trưởng của quần thể vi khuẩn có dạng:

Biết rằng:
- Trong pha lũy thừa thứ nhất có thời gian thế hệ (g) là 15 phút.
- Sau 6,5 giờ nuôi cấy số lượng vi khuẩn trong bình là 1639.105 tế bào.
a. Xác định số lượng tế bào vi khuẩn trong bình nuôi cấy sau 4 giờ nuôi cấy.
b. Tính thời gian thế hệ (g) ở pha lũy thừa thứ 2.
Bài 9: Người ta nuôi 55g vi khuẩn X trong môi trường nuôi cấy tối ưu, sau 5 giờ nuôi thì khối lượng vi khuẩn thu được là 1,8kg. Nếu nuôi tiếp 3 giờ nữa thì khối lượng thu được là 500kg.
a. Hãy xác định thời gian thế hệ và hằng số tốc độ sinh trưởng của vi khuẩn.
b. Từ 10g vi khuẩn X, được nuôi trong môi trường tối ưu thì phải mất bao nhiêu giờ để thu được 1 tấn vi khuẩn?
Bài 10: Người ta nuôi cấy một chủng vi sinh vật trong môi trường nuôi cấy nhân tạo. Khi bắt đầu nuôi cấy thấy nồng độ vi khuẩn là N0 = 102 vi khuẩn/ml, pha cân bằng đạt được sau 6 giờ và vào lúc ấy môi trường chứa N = 106 vi khuẩn/ml. Trong điều kiện nuôi cấy này độ dài thế hệ của chủng vi khuẩn là 25 phút. Hỏi chủng vi khuẩn trên có phải trải qua pha lag không? Nếu có thì kéo dài bao lâu?
(199k) Xem Khóa học Sinh 10 KNTTXem Khóa học Sinh 10 CDXem Khóa học Sinh 10 CTST
Xem thêm các dạng bài tập Sinh học lớp 10 hay, chi tiết khác:
- Bài tập về áp suất thẩm thấu của tế bào (có lời giải)
- Cách giải bài tập Nguyên phân
- Cách giải bài tập Giảm phân
Đã có app VietJack trên điện thoại, giải bài tập SGK, SBT Soạn văn, Văn mẫu, Thi online, Bài giảng....miễn phí. Tải ngay ứng dụng trên Android và iOS.
Theo dõi chúng tôi miễn phí trên mạng xã hội facebook và youtube:Nếu thấy hay, hãy động viên và chia sẻ nhé! Các bình luận không phù hợp với nội quy bình luận trang web sẽ bị cấm bình luận vĩnh viễn.
- Đề thi lớp 1 (các môn học)
- Đề thi lớp 2 (các môn học)
- Đề thi lớp 3 (các môn học)
- Đề thi lớp 4 (các môn học)
- Đề thi lớp 5 (các môn học)
- Đề thi lớp 6 (các môn học)
- Đề thi lớp 7 (các môn học)
- Đề thi lớp 8 (các môn học)
- Đề thi lớp 9 (các môn học)
- Đề thi lớp 10 (các môn học)
- Đề thi lớp 11 (các môn học)
- Đề thi lớp 12 (các môn học)
- Giáo án lớp 1 (các môn học)
- Giáo án lớp 2 (các môn học)
- Giáo án lớp 3 (các môn học)
- Giáo án lớp 4 (các môn học)
- Giáo án lớp 5 (các môn học)
- Giáo án lớp 6 (các môn học)
- Giáo án lớp 7 (các môn học)
- Giáo án lớp 8 (các môn học)
- Giáo án lớp 9 (các môn học)
- Giáo án lớp 10 (các môn học)
- Giáo án lớp 11 (các môn học)
- Giáo án lớp 12 (các môn học)


Giải bài tập SGK & SBT
Tài liệu giáo viên
Sách
Khóa học
Thi online
Hỏi đáp

