Hai mặt phẳng vuông góc lớp 11 (Lý thuyết Toán 11 Chân trời sáng tạo)
Với tóm tắt lý thuyết Toán 11 Bài 3: Hai mặt phẳng vuông góc sách Chân trời sáng tạo hay nhất, chi tiết sẽ giúp học sinh lớp 11 nắm vững kiến thức trọng tâm, ôn luyện để học tốt môn Toán 11.
Hai mặt phẳng vuông góc lớp 11 (Lý thuyết Toán 11 Chân trời sáng tạo)
(199k) Xem Khóa học Toán 11 CTST
Bài giảng: Bài 3: Hai mặt phẳng vuông góc - Cô Nguyễn Yến (Giáo viên VietJack)
Lý thuyết Hai mặt phẳng vuông góc
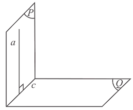
1. Góc giữa hai mặt phẳng
Định nghĩa
Góc giữa hai mặt phẳng và là góc giữa hai đường thẳng lần lượt vuông góc với và , kí hiệu .
Ta có: với (xem hình dưới).
Người ta chứng minh được góc giữa hai mặt phẳng cắt nhau bằng góc giữa hai đường thẳng lần lượt nằm trong hai mặt phẳng và vuông góc với giao tuyến của hai mặt phẳng.
Cho : với (xem hình dưới).
Ví dụ 1. Cho hình chóp S.ABCD có đáy là hình vuông cạnh a. Cạnh bên SA vuông góc với mặt phẳng đáy và SA = a. Tính góc giữa hai mặt phẳng (SAB) và (SCD).
Hướng dẫn giải
Hai mặt phẳng (SAB) và (SCD) có S là điểm chung và AB // CD nên giao tuyến của hai mặt phẳng này là đường thẳng đi qua S và song song với AB, CD. Gọi giao tuyến của hai mặt phẳng (SAB) và (SCD) là d, ta có S ∈ d và d // AB, d // CD.
Ta có SA ⊥ (ABCD) nên SA ⊥ AB, từ đó suy ra SA ⊥ d.
Ta có CD ⊥ AD (do ABCD là hình vuông) và CD ⊥ SA (do SA ⊥ (ABCD)). Do đó đường thẳng CD vuông góc với mặt phẳng (SAD). Suy ra CD ⊥ SD. Mà d // CD.
Suy ra SD ⊥ d.
Lại có SA ⊂ (SAB) và SD ⊂ (SCD). Do đó, góc giữa hai mặt phẳng (SAB) và (SCD) chính là góc giữa hai đường thẳng SA và SD.
Tam giác SAD vuông cân tại S nên Suy ra (SA, SD) = 45°.
Vậy góc giữa hai mặt phẳng (SAB) và (SCD) bằng 45°.
2. Hai mặt phẳng vuông góc
Định nghĩa
Hai mặt phẳng được gọi là vuông góc nếu góc giữa hai mặt phẳng đó là một góc vuông.
Hai mặt phẳng (P) và (Q) vuông góc được kí hiệu là .
Điều kiện để hai mặt phẳng vuông góc
Điều kiện cần và đủ để hai mặt phẳng vuông góc là mặt phẳng này chứa một đường thẳng vuông góc với mặt phẳng kia.
Ví dụ 2. Cho hình chóp S.ABC có đáy là tam giác vuông tại A. Cạnh bên SA vuông góc với mặt phẳng đáy. Chứng minh
Hướng dẫn giải
Ta có
• (do tam giác ABCvuông tại A). (1)
• (do SAvuông góc với mặt phẳng đáy). (2)
Từ (1) và (2), suy ra
3. Tính chất cơ bản về hai mặt phẳng vuông góc
Định lí
Nếu hai mặt phẳng vuông góc với nhau thì bất cứ đường thằng nào nằm trong mặt phẳng này và vuông góc với giao tuyến cũng vuông góc với mặt phẳng kia.
Ví dụ 3. Cho hình chóp S.ABC có SAB là tam giác đều và nằm trong mặt phẳng vuông góc với mặt phẳng (ABC). Gọi M là trung điểm của AB. Chứng minh .
Hướng dẫn giải
Theo đề bài ta có .
Ta có tam giác SAB đều và M là trung điểm của AB, suy ra . Đường thẳng SM nằm trong (SAB) và vuông góc với giao tuyến AB của hai mặt phẳng (SAB) và (ABC).
Từ đó suy ra .
Định lí
Nếu hai mặt phẳng cắt nhau cùng vuông góc với mặt phẳng thứ ba thì giao tuyến của chúng vuông góc với mặt phẳng thứ ba.
Ví dụ 4. Cho hình chóp S.ABC có cạnh SA bằng a, đáy ABC là tam giác đều với cạnh bằng a. Cho biết hai mặt bên (SAB) và (SAC) cùng vuông góc với mặt đáy (ABC). Tính SB và SC theo a.
Hướng dẫn giải
Ta có hai mặt phẳng (SAB) và (SAC) cùng vuông góc với mặt đáy (ABC), khi đó giao tuyến SA của (SAB) và (SAC) vuông góc với (ABC). Từ ta có và , suy ra tam giác SAB và SAC vuông cân tại S, suy ra .
4. Hình lăng trụ đứng, hình hộp chữ nhật, hình lập phương
Định nghĩa
Hình lăng trụ đứng là hình lăng trụ có cạnh bên vuông góc với mặt đáy.
Hình lăng trụ đều là hình lăng trụ đứng có mặt đáy là đa giác đều.
Hình hộp đứng là hình hộp có cạnh bên vuông góc với mặt đáy.
Hình hộp chữ nhật là hình hộp đứng có mặt đáy là hình chữ nhật.
Hình lập phương là hình hộp chữ nhật có tất cả các cạnh bằng nhau.
Sử dụng quan hệ song song và vuông góc giữa đường thẳng và mặt phẳng ta chứng minh được các tính chất sau đây của các hình vừa nêu:
Tên |
Hình vẽ |
Tính chất cơ bản |
Hình lăng trụ đứng |
- Cạnh bên vuông góc với hai đáy. - Mặt bên là các hình chữ nhật. |
|
Hình lăng trụ đều |
- Hai đáy là hai đa giác đều. - Mặt bên là các hình chữ nhật. - Cạnh bên và đường nối tâm hai đáy vuông góc với hai đáy. |
|
Hình hộp đứng |
- Bốn mặt bên là hình chữ nhật. - Hai đáy là hình bình hành. |
|
Hình hộp chữ nhật |
- Sáu mặt là hình chữ nhật. - Độ dài a, b, c của ba cạnh cùng đi qua một đỉnh gọi là ba kích thước của hình hộp chữ nhật. - Độ dài đường chéo d được tính theo ba kích thước:
|
|
Hình lập phương |
- Sáu mặt là hình vuông. - Độ dài đường chéo d được tính theo độ dài cạnh a:
|
Chú ý: Lăng trụ đều có đáy tứ giác thường được gọi là lăng trụ tứ giác đều. Tương tự ta cũng có lăng trụ tam giác đều, lăng trụ lục giác đều, ...
5. Hình chóp đều. Hình chóp cụt đều
• Hình chóp đều
Định nghĩa
Hình chóp đều là hình chóp có đáy là đa giác đều và các cạnh bên bằng nhau.
Chú ý: Hình chóp đều có:
a) Các mặt bên là các tam giác cân tại đỉnh hình chóp và bằng nhau.
b) Đoạn thẳng nối từ đỉnh hình chóp đến tâm của đáy thì vuông góc với mặt đáy và gọi là đường cao của hình chóp.
c) Độ dài đường cao gọi là chiều cao của hình chóp đều.
• Hình chóp cụt đều
Định nghĩa
Phần của hình chóp đều nằm giữa đáy và một mặt phẳng song song với đáy cắt các cạnh bên của hình chóp đều được gọi là hình chóp cụt đều.
Trong hình chóp cụt đều , ta gọi:
+ Các điểm là các đỉnh.
+ Đa giác là đáy lớn, đa giác là đáy nhỏ. Đáy lớn và đáy nhỏ nằm trên hai mặt phẳng song song.
+ Cạnh của hai đa giác đáy là cạnh đáy. Các cạnh đáy tương ứng song song từng đôi một.
+ Các hình thang cân là các mặt bên.
+ Cạnh bên của mặt bên gọi là cạnh bên của hình chóp cụt đều.Hình chóp cụt đều có các cạnh bên bằng nhau, các mặt bên là những hình thang cân.
+ Đoạn thẳng nối tâm hai đáy là đường cao. Độ dài đường cao là chiều cao.
Bài tập Hai mặt phẳng vuông góc
Bài 1. Cho hình chóp S.ABCD có đáy ABCD là hình thoi tâm O, cạnh bằng a, góc BAD bằng 60°. Kẻ OH vuông góc với SC tại H. Biết và . Chứng minh rằng:
a) ;
b) ;
c) .
Hướng dẫn giải
a) Ta có nên mà , do đó .
Vì mặt phẳng (SBD) chứa BD nên .
b) Ta có nên mà , do đó .
Vì mặt phẳng (SBC) chứa SC nên .
c) Ta có: .
Vì ∆CHO ∽ ∆CAS nên , suy ra .
Do đó, tam giác BDH vuông tại H, suy ra .
Ta lại có nên .
Bài 2. Cho hình chóp S.ABC có đáy là tam giác ABC vuông cân tại A và AB = a, biết . Tính góc giữa mặt phẳng (ABC) và mặt phẳng (SBC).
Hướng dẫn giải
Gọi M là trung điểm của cạnh BC, ta có: nên góc giữa hai mặt phẳng (ABC) và (SBC) bằng góc giữa hai đường thẳng AM và SM.
Ta có nên . Xét tam giác SAM vuông tại A, có:
, suy ra , hay .
Vậy góc giữa hai mặt phẳng (ABC) và (SBC) bằng 60°.
Bài 3. Cho hình lăng trụ đều có cạnh đáy AB = a và cạnh bên AA' = h. Tính đường chéo A'C theo a và h.
Hướng dẫn giải
Đáy ABCD của lăng trụ đều phải là tứ giác đều, suy ra ABCD là hình vuông, vậy . Lăng trụ đều có cạnh bên vuông góc với đáy, suy ra , vậy .
Trong tam giác A'AC vuông tại A ta có: .
Bài 4. Cho hình chóp cụt tứ giác đều có đáy lớn ABCD có cạnh bằng 2a, đáy nhỏ có cạnh bằng a và cạnh bên 2a. Tính đường cao của hình chóp cụt và đường cao của mặt bên.
Hướng dẫn giải
Gọi O và O' lần lượt là tâm của hai đáy và H là hình chiếu của C' trên AC.
Trong hình thang vuông , vẽ đường cao .
Ta có: , suy ra .
Trong tam giác vuông C'CH, ta có:
Nên .
Trong hình thang , vẽ đường cao .
Ta có .
Trong tam giác vuông , ta có:
Học tốt Hai mặt phẳng vuông góc
Các bài học để học tốt Hai mặt phẳng vuông góc Toán lớp 11 hay khác:
(199k) Xem Khóa học Toán 11 CTST
Xem thêm tóm tắt lý thuyết Toán lớp 11 Chân trời sáng tạo hay khác:
Lý thuyết Toán 11 Bài 2: Đường thẳng vuông góc với mặt phẳng
Lý thuyết Toán 11 Bài 5: Góc giữa đường thẳng và mặt phẳng. Góc nhị diện
Lý thuyết Toán 11 Bài 1: Biến cố giao và quy tắc nhân xác suất
Lý thuyết Toán 11 Bài 2: Biến cố hợp và quy tắc cộng xác suất
Xem thêm các tài liệu học tốt lớp 11 hay khác:
- Giải sgk Toán 11 Chân trời sáng tạo
- Giải Chuyên đề học tập Toán 11 Chân trời sáng tạo
- Giải SBT Toán 11 Chân trời sáng tạo
- Giải lớp 11 Chân trời sáng tạo (các môn học)
- Giải lớp 11 Kết nối tri thức (các môn học)
- Giải lớp 11 Cánh diều (các môn học)
Tủ sách VIETJACK shopee lớp 10-11 (cả 3 bộ sách):
Đã có app VietJack trên điện thoại, giải bài tập SGK, SBT Soạn văn, Văn mẫu, Thi online, Bài giảng....miễn phí. Tải ngay ứng dụng trên Android và iOS.
Theo dõi chúng tôi miễn phí trên mạng xã hội facebook và youtube:Nếu thấy hay, hãy động viên và chia sẻ nhé! Các bình luận không phù hợp với nội quy bình luận trang web sẽ bị cấm bình luận vĩnh viễn.
- Soạn văn 11 (hay nhất) - CTST
- Soạn văn 11 (ngắn nhất) - CTST
- Giải sgk Toán 11 - CTST
- Giải Tiếng Anh 11 Global Success
- Giải sgk Tiếng Anh 11 Smart World
- Giải sgk Tiếng Anh 11 Friends Global
- Giải sgk Vật Lí 11 - CTST
- Giải sgk Hóa học 11 - CTST
- Giải sgk Sinh học 11 - CTST
- Giải sgk Lịch Sử 11 - CTST
- Giải sgk Địa Lí 11 - CTST
- Giải sgk Giáo dục KTPL 11 - CTST
- Giải sgk Hoạt động trải nghiệm 11 - CTST
- Giải sgk Âm nhạc 11 - CTST


Giải bài tập SGK & SBT
Tài liệu giáo viên
Sách
Khóa học
Thi online
Hỏi đáp

