Đề thi vào lớp 10 chuyên Vật Lí trường Nguyễn Trãi Hải Dương có đáp án
Đề thi vào lớp 10 chuyên Vật Lí trường Nguyễn Trãi Hải Dương có đáp án
Sở Giáo dục và Đào tạo tỉnh Hải Dương
Kỳ thi tuyển sinh vào lớp 10 THPT chuyên
Đề thi môn: Vật Lí
Năm học: .....
Thời gian: 150 phút
Câu 1 (2,0 điểm):
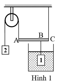
Cho cơ hệ như hình 1. Vật 1 là một khối lập phương (đặc và không thấm nước) có cạnh a = 10cm được làm bằng vật liệu đồng chất có trọng lượng riêng d = 1,25.104 N/m3. Vật 2 được nối với một sợi dây vắt qua ròng rọc cố định. Thanh cứng AC, đồng chất, mảnh, tiết diện đều, có chiều dài AC = 20cm; B là điểm treo của vật 1 trên thanh AC; vật 1 chìm hoàn toàn trong bình đựng nước. Biết trọng lượng riêng của nước là dn = 104N/m3. Coi các sợi dây nhẹ, không giãn; bỏ qua mọi ma sát và khối lượng của ròng rọc.
1. Nếu bỏ qua khối lượng của thanh AC, để hệ ở trạng thái cân bằng và thanh AC nằm ngang thì AB = 15cm. Tìm khối lượng m2 của vật 2.
2. Nếu thanh AC có khối lượng m = 75g, để hệ ở trạng thái cân bằng và thanh AC nằm ngang thì AB phải có giá trị bằng bao nhiêu (với m2 tìm được ở phần trên)?
Câu 2 (2,0 điểm):
Có hai bình đựng cùng một loại chất lỏng. Một học sinh lần lượt múc từng ca chất lỏng từ bình 2 đổ vào bình 1 và đo nhiệt độ cân bằng của chất lỏng trong bình 1 sau mỗi lần đổ rồi ghi vào bảng số liệu như dưới đây:
| Lần đổ thứ n | n = 1 | n = 2 | n = 3 | n = 4 |
| Nhiệt độ cân bằng của chất lỏng trong bình 1 sau lần đổ thứ n | 200C | 350C | t (0C) | 500C |
Tính nhiệt độ t (0C) và nhiệt độ của chất lỏng trong mỗi ca lấy từ bình 2 đổ vào bình 1. Coi nhiệt độ và khối lượng của chất lỏng ở mỗi ca lấy từ bình 2 đều như nhau. Bỏ qua sự trao đổi nhiệt với môi trường và bình chứa.
Câu 3 (2,5 điểm):
Cho mạch điện AB như hình 2. Biết R1 = 1Ω, R2 = 2Ω các biến trở R3 và R4. Bỏ qua điện trở các dây nối. Đặt vào hai đầu mạch AB hiệu điện thế không đổi U = 6V.
1. Với trường hợp R3 = 2,5Ω, R4 = 3,5Ω. Mắc vào hai điểm C và D một vôn kế lí tưởng. Xác định số chỉ của vôn kế.
2. Với trường hợp R3 = 2,5Ω. Mắc vào hai điểm C và D một ampe kế lí tưởng. Xác định giá trị của R4 để số chỉ của ampe kế là 0,75A và chiều dòng điện qua ampe kế từ C đến D.
3. Với trường hợp R3 = R0 (không đổi). Thay đổi giá trị của biến trở R4, khi R4 = R5 hoặc R4 = R6 thì công suất tỏa nhiệt trên biến trở R4 có giá trị như nhau và bằng P, khi R4 = R7 thì công suất toả nhiệt trên biến trở R4 đạt giá trị lớn nhất là Pmax . Cho biết ; R5 + R6 = 6,5Ω và R5 > R6 . Tìm R0, R5, R6, R7.
Câu 4 (1,5 điểm):
Cho mạch điện như hình 3. Biết R là một biến trở tiết diện đều với con chạy C di chuyển được từ M đến N và ngược lại. Điện trở r = 1Ω, đèn Đ1 ghi 6V-6W. Bỏ qua điện trở các dây nối, ampe kế lí tưởng. Đặt vào hai đầu mạch điện AB một hiệu điện thế không đổi U = 36V.
1. Cho R = 35Ω.
a. Xác định phần điện trở MC của biến trở để đèn Đ1 sáng bình thường.
b. Xác định vị trí con chạy C trên biến trở (so với vị trí M) để số chỉ ampe kế đạt giá trị nhỏ nhất.
2. Thay ampe kế bằng đèn Đ2 ghi 6V-12W, thay đèn Đ1 bằng một điện trở R1 = 6Ω như hình 4. Tìm giá trị nhỏ nhất của R để đèn Đ2 sáng bình thường.
Câu 5 (2,0 điểm):
Cho xy là trục chính của một thấu kính, S là nguồn sáng điểm, S’ là ảnh của S qua thấu kính. Các điểm H, K tương ứng là chân đường vuông góc hạ từ S và S’ xuống xy như hình 5. Gọi F và F’ là hai tiêu điểm của thấu kính, với FH < F’H. Tại thời điểm ban đầu, cho biết SH = 5cm, HF = 10cm, KF’ = 40cm.
1. Xác định tiêu cự của thấu kính.
2. Hệ đang ở vị trí như thời điểm ban đầu. Giữ thấu kính cố định, dịch chuyển nguồn sáng S theo phương song song với xy, chiều ra xa thấu kính với tốc độ bằng 15cm/s thì tốc độ trung bình của ảnh tạo bởi thấu kính trong 1s đầu tiên bằng bao nhiêu?
———— HẾT————
Cán bộ coi thi không giải thích gì thêm.
Họ và tên thí sinh:…………………………….Số báo danh: …………………
HƯỠNG DẪN CHẤM ĐỀ TUYỂN Sinh 10 THPT
Câu 1
1
- Vẽ hình, biểu diễn lực.
- Điều kiện cân bằng cho vật m1
P1 = FA + T => T = P1 - FA
- Điều kiện cân bằng cho vật m2
T2 = P2
- Điều kiện cân bằng của thanh AC (đối với điểm C) là :
CB.T = CA.T2
<=> (P1 - FA)CB = P2.CA
<=> (d.a3 - dn.a3)CB = 10m2.CA
2
- Vẽ hình, biểu diễn lực.
- Điều kiện cân bằng cho vật m1
P1 = FA + T => T = P1 - FA
- Điều kiện cân bằng cho vật m2
T2 = P2
- Gọi P là trọng lượng của thanh AC, điểm đặt của P tại điểm O (trung điểm của AC).
- Điều kiện cân bằng của thanh AC (đối với điểm C) là:
P.CO + T.CB = T2.CA
<=> P.CO + (P1 - FA).CB = P2.CA
- Vậy độ dài của đoạn AB là :
AB = 20 – 2 = 18 cm.
Câu 2 (2,0 điểm):
- Gọi nhiệt dung của chất lỏng chứa trong bình 1 (ngay trước lần đổ thứ n = 1) là q1 (J/Kg.K); nhiệt dung của mỗi ca chất lỏng lấy từ bình 2 là q2 (J/Kg.K).
- Gọi nhiệt độ của mỗi ca chất lỏng lấy từ bình 2 là t2 (t2 > 50oC); nhiệt độ của chất lỏng chứa trong bình 1 (ngay trước nhiệt độ 20oC) là t1.
- Xét phương trình cân bằng nhiệt ở các lần đổ :
+ Lần đổ 1: q2(t2 - 20) = q1(20 - t1) (1).
+ Lần đổ 2: q2(t2 - 35) = (q1 + q2)(35 - 20) <=> q2(t2 - 50) = 15q1 (2).
+ Lần đổ 3: q2(t2 - t) = (q1 + 2q2)(t - 35) <=> q2(t2 - 3t + 70) = q1(t - 35) (3).
+ Lần đổ 4: q2(t2 - 50) = (q1 + 3q2)(50 - t) <=> q2(t2 + 3t - 200) = q1(50 - t) (4).
- Lấy (2) chia (3) ta được :
- Lấy (2) chia (4) ta được :
- Thay (5) vào (6) ta được: t22 - 85t2 + 400 = 0 => t2 = 80oC (Thỏa mãn) hoặc t2 = 50C (Loại).
- Thay t2 = 800C vào (5) ta được t = 440C.
- Vậy nhiệt độ t = 440C và nhiệt độ mỗi ca chất lỏng lấy từ bình 2 đổ vào bình 1 là t2 = 800C.
Câu 3 (2,5 điểm):
1
- Sơ đồ mạch: (R1ntR2)//(R3ntR4).
- Ta có : R12 = 3 ; R34 = 6 .
- Vì R12//R34 nên : U12 = U34 = 6V.
- Lúc đó: I1 = I12 =
= 2A;
I3 = I34 =
= 1A.
- Suy ra: U1 = I1.R1 = 2V; U3 = I3.R3 = 2,5V.
- Do U3 > U1 nên số chỉ của vôn kế là:
UV = U3 – U1 = 0,5 V.
2
- Sơ đồ mạch: (R1//R3)nt(R2//R4).
- Ta có:
- Điện trở tương đương của đoạn mạch là :
Rtđ = R13 + R24
=
- Cường độ dòng điện chạy qua mạch chính là:
- Cường độ dòng điện chạy qua điện trở R1 và R2 lần lượt là:
- Xét tại nút C, ta có: IA = I1 – I2
3
- Đoạn mạch được mắc: (R1ntR2)//(R0ntR4).
- Ta có: U04 = U.
- Công suất tiêu thụ trên điện trở R4 được tính:
- Đặt x = R4(Ω); x1 = R5(Ω); x2 = R6(Ω)
Có :
- Theo bài ra :
- Lại có:
(Với x1 + x2 = 6,5Ω)
- Lúc đó:
- Thay vào (1), ta được:
- Vậy R5 = 4,5Ω; R6 = 2Ω; R7 = R0 = 3Ω
Câu 4 (1,5 điểm):
1a
- Với đèn Đ1, ta có : RĐ1 = 6 ; Iđm1 = 1A.
- Đặt RMC = x(Ω)
=> RCN = 35 – x (Ω).
- Ta có:
; RBC = 36 – x
- Theo tính chất của đoạn mạch nối tiếp ta có:
1b
- Điện trở tương đương của đoạn mạch:
- Cường độ dòng điện chạy qua mạch chính là:
- Số chỉ của ampe kế:
- Do đó: IAmin khi x = 18Ω.
- Vậy con chạy C ở vị trí sao cho
thì số chỉ của ampe kế nhỏ nhất.
2
- Với đèn Đ2, ta có: RĐ2 = 3Ω; Iđm2 = 2A
- Đặt RMC = x (Ω)
RCN = R – x (Ω).
- Ta có:
; RBC = R – x +1
- Điện trở tương đương của đoạn mạch:
- Cường độ dòng điện chạy qua mạch chính là :
- Cường độ dòng điện chạy qua đèn Đ2 là:
- Để đèn Đ2 sáng bình thường thì:
+ Ta có : ∆ = (R - 2)2 + 4(9R - 81) = R2 + 32R - 320
+ Để (*) có nghiệm (có giá trị của x) thì:
Suy ra:
- Do đó giá trị nhỏ nhất của R là : Rmin = 8
Câu 5 (2,0 điểm):
1
- Do S và S’ nằm khác phía trục chính xy nên thấu kính đã cho là thấu kính hội tụ. Ta có hình vẽ:
- Đặt f = OF = OF’
- Theo đề:
OH = HF + OF = 10 + f
OK = OF' + F'K = f + 40
- Do SH // KS'
- Do OI // KS'
- Với OI = SH, nên từ (1) và (2) ta được:
- Vậy tiêu cự thấu kính là 20 cm.
2
*Trường hợp cố định S, tịnh tiến thấu kính:
- Gọi: O’ là vị trí quang tâm của thấu kính sau khi dịch chuyển 1s.
+ v là tốc độ của thấu kính => v = 5cm/s => OO' = v.t
+ S1 là vị trí ảnh của S khi quang tâm thấu kính ở vị trí O’.
- Do OO' // S'S1
Với OO' = v.t; S'S1 = v0.t
- Do SH // S'K
- Thay vào (3), ta được:
*Trường hợp thấu kính cố định, dịch chuyển nguồn sáng S:
- Do đường SI không đổi nên IF’ không đổi. Do đó khi dịch chuyển S theo phương song song với trục chính đến vị trí S1 thì ảnh tương ứng dịch chuyển từ vị trí S’ đến vị trí S1’ theo phương IF’ như hình vẽ trên.
- Gọi:
+ S1 và S1’ tương ứng và vị trí nguồn sáng và ảnh của nguồn sáng sau khi dịch chuyển được 1s đầu tiên
+ H’ và K’ tương ứng là chân đường đường vuông góc hạ từ S1 và S1’ xuống trục chính thấu kính
=> HH' = SS1 = 15CM; SH = S1H' = 5cm
=> OH' = OH + HH' = 30 + 15 = 45cm
=> F'K = OK' - OF' = OK' - 20
- Do
- Do
- Từ (4), (5) ta được:
- Do
- Do
- Từ hình vẽ, ta thấy quãng đường dịch chuyển của ảnh trong thời gian t = 1s là đoạn SS1':
Với: S'I = S'K - KI = 10 - 4 = 6cm
S1'I = K'K = OK - OK' = 60 - 36 = 24cm
- Vậy tốc độ của ảnh trong thời gian 1s đầu tiên là:
Xem thêm các Đề thi chuyên Vật Lí vào lớp 10 chọn lọc, có đáp án hay khác:
Để học tốt lớp 10 các môn học sách mới:
- Giải bài tập Lớp 10 Kết nối tri thức
- Giải bài tập Lớp 10 Chân trời sáng tạo
- Giải bài tập Lớp 10 Cánh diều
Tủ sách VIETJACK luyện thi vào 10 cho 2k11 (2026):
Đã có app VietJack trên điện thoại, giải bài tập SGK, SBT Soạn văn, Văn mẫu, Thi online, Bài giảng....miễn phí. Tải ngay ứng dụng trên Android và iOS.
Theo dõi chúng tôi miễn phí trên mạng xã hội facebook và youtube:Loạt bài Đề thi vào lớp 10 môn Vật Lí (có đáp án) được các Giáo viên hàng đầu biên soạn theo cấu trúc ra đề thi Trắc nghiệm, Tự luận mới giúp bạn ôn luyện và giành được điểm cao trong kì thi vào lớp 10 môn Vật Lí.
Nếu thấy hay, hãy động viên và chia sẻ nhé! Các bình luận không phù hợp với nội quy bình luận trang web sẽ bị cấm bình luận vĩnh viễn.
- Giáo án lớp 9 (các môn học)
- Giáo án điện tử lớp 9 (các môn học)
- Giáo án Toán 9
- Giáo án Ngữ văn 9
- Giáo án Tiếng Anh 9
- Giáo án Khoa học tự nhiên 9
- Giáo án Vật Lí 9
- Giáo án Hóa học 9
- Giáo án Sinh học 9
- Giáo án Địa Lí 9
- Giáo án Lịch Sử 9
- Giáo án GDCD 9
- Giáo án Tin học 9
- Giáo án Công nghệ 9
- Đề thi lớp 9 (các môn học)
- Đề thi Ngữ Văn 9 (có đáp án)
- Đề thi Toán 9 (có đáp án)
- Đề thi Tiếng Anh 9 mới (có đáp án)
- Đề thi Tiếng Anh 9 (có đáp án)
- Đề thi Khoa học tự nhiên 9 (có đáp án)
- Đề thi Lịch Sử và Địa Lí 9 (có đáp án)
- Đề thi GDCD 9 (có đáp án)
- Đề thi Tin học 9 (có đáp án)
- Đề thi Công nghệ 9 (có đáp án)


Giải bài tập SGK & SBT
Tài liệu giáo viên
Sách
Khóa học
Thi online
Hỏi đáp

